Sistema de seguridad
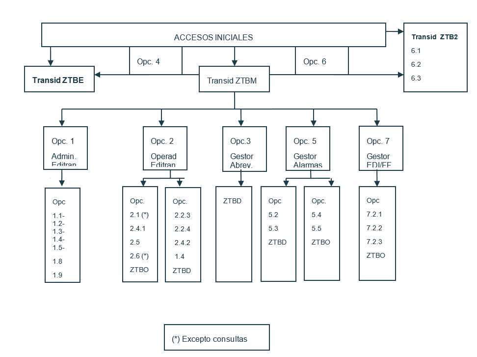
Se acompaña un esquema del encadenamiento de transacciones editran/P con especificación de los programas asociados y los ficheros accedidos, para que sirva de referencia para el establecimiento de diferentes niveles de seguridad, cualquiera que sea el producto empleado con este fin.
Las transid que atienden procesos listener (ZTBA) o la de time-out general (ZTBT) deben estar permanentemente arrancadas. La transid que ejecuta datos ZTBB o ZTB0 pueden tener una duración larga, en función de la ráfaga de datos.
En caso que se deseé utilizar el sistema de seguridad aportado por CICS (solo valido para versiones inferiores a V-3 de CICS) se deberán añadir los siguientes parámetros:
RSLC=YES en la transacción del Menú General (ZTBM).
RSL=nn en las transacciones ZTBO, ZTBD, ZTBE, ZTB2 (o las que se codifiquen en su lugar en los perfiles), siendo nn el código de seguridad asignado a cada una de ellas y estarán relacionados con los distintos usuarios especificados en la Tabla SNT. Los controles realizados son:
La transid ZTBO es para operadores:
Operador de transmisiones, en la opción 2.6 del menú principal, en todas las sub opciones (2-4), excepto en consulta.
Operador de presentaciones, en la opción 2.1 del menú principal, en todas las sub opciones (1-9), excepto en consulta.
Operador Modificación de estados editran/G, en la opción 2.2.3 y 2.2.4.
Operador Colas de ficheros, en la opción 2.4.1.
Operador control y gestión de alarmas. Opciones 5.4 y 5.5 de menú principal (habilitación y des habilitación).
La transid ZTBD es para administradores:
Administrador de editran, en la opción 1.1, 1.2, 1.3 y 1. 4 del menú principal, excepto en consulta.
Administrador Colas de ficheros, en la opción 2.4.2.
Administrador abreviado de editran, en la opción 3 del menú principal.
Administrador Control y gestión de alarmas. Opciones 5.2 y 5.3 de menú principal (entorno y sesión).
Administrador Gestión de claves de intercambio. Opción 6 de menú principal (excepto en sub opciones de consulta).
Administrador Gestión FF. Opción 7.2 de menú principal (excepto en sub opciones de consulta).
La transid ZTBE es para estadísticas (opción 4 del menú principal)
La transid ZTB2 es para Gestión de claves (opción 6 del menú principal). Atención, esta opción tiene además los controles de administración.
RSL=PUBLIC al resto de recursos (programas, transacciones, ficheros, etc.).
En caso que se deseé utilizar un producto de seguridad externo al CICS (por Ej. RACF, TOP-SECRET,.....etc.) se deberán añadir los siguientes parámetros :
SEC=YES y XPCT=YES en la tabla SIT.
RESSEC(YES) en la transacción ZTBM, dentro del CSD correspondiente.
Definir los PROFILES en el producto de seguridad, teniendo en cuenta que, con los parámetros anteriores, todas las opciones del editran/P estarían restringidas para todos los usuarios. Por lo tanto habrá que dar permisos a los usuarios correspondientes para poder usar las opciones (transacciones) que se deseen.
